Форматно-раскроечный станок Bala Makina CPME 2B 20x40
Станок предназначен для раскроя композитных материалов, полимеров, ПВХ, фанеры и т. д., а также, фрезерования пазов заданной конфигурации для производства упаковки (кассет) без дополнительных соединений, используемых в строительстве вентилируемых фасадов.
Участки раскроя на предприятиях по производству алюминиево-композитных панелей (Alucobond и др.), а также предприятия, на которых требуется точный раскрой плитных материалов большого формата.
ОБЛАСТЬ ПРИМЕНЕНИЯ:
Участки раскроя на предприятиях по производству алюминиево-композитных панелей (Alucobond и др.), а также предприятия, на которых требуется точный раскрой плитных материалов большого формата.
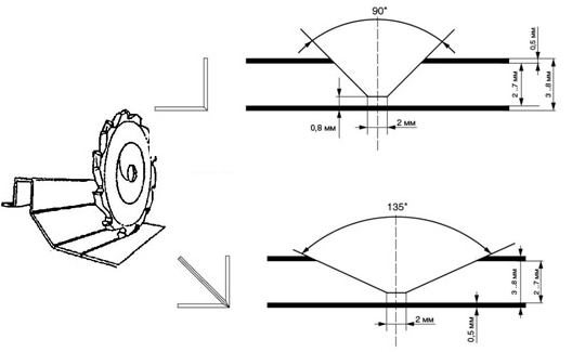
СХЕМА ОБРАБОТКИ:

КОНСТРУКТИВНЫЕ ОСОБЕННОСТИ:
![]() | Большие габариты детали и экономия площадей Вертикальная компоновка рабочего стола позволяет значительно сократить площадь, необходимую для операции раскроя. Рабочий стол станка позволяет раскраивать листы размером 4100 х 2000 мм. Опционально: возможно изготовление станка с длиной распила до 6 м. |
![]() | Двухшпиндельный пильный узел Конструкция пильного узла позволяет одновременно установить на станок пильный диск и пазовальную фрезу. Переключение рабочего инструмента осуществляется с пульта управления. |
![]() | Высокая точность раскроя Жесткая конструкция и усиленные направляющие позволяют выдерживать точность 0,1 мм на 1 м реза (соответствует европейскому стандарту DIN 875/1). |
![]() | Упор для малогабаритных деталей Для базирования небольших деталей в станке предусмотрен промежуточный упор. |
![]() | Закатные ролики Для удобства перемещения материала в рабочую зону, станок оснащен алюминиевыми роликами качения в нижней части станка. Они же служат опорной базирующей поверхностью. |
![]() | Высокая производительность Благодаря системе перемещения пильного узла относительно листа материала без его перебазирования производительность станка может достигать до 80 листов в 8-часовую смену. Перенастройка положений легко осуществляется вручную. |
![]() | Защита от повреждения направляющих Опорные силиконовые планки имеют возможность автоматически перемещаться в вертикальной плоскости для предотвращения их пропила при попадании в зону резания при горизонтальном раскрое. |
![]() | Упор для угловых резов Опциональновозможна установка упора для пиления заготовок под углом. Значение угла устанавливается механически. |
![]() | Электронные дисплеи указания размеров Опциональновозможно установить блоки цифровой индикации размера по горизонтали и вертикали. |
Особенность станка – наличие двух шпинделей Работающие в маятниковом режиме: либо пазовальная фреза, либо пила для раскроя. Это позволяет значительно увеличить производительность и точность обработки. | |
Станок оборудован автоматической рамой Для ухода направляющих от пропила, аспирационным кожухом и роликами для облегчения подачи материала, что позволяет увеличить удобство работы на станке. | |
Вертикальная компоновка Позволяет выдерживать точную геометрию пропила благодаря перемещению пильного узла вместо перемещения заготовки. |
Технические характеристики
Характеристика | Значение |
---|---|
Система ЧПУ | нет |
Частота вращения пилы, об/мин | 5800 |
Частота вращения фрезы, об/мин | 5800 |
Дисковая пила | Ø 230 x 30 x 2,8 Z62 |
Дисковая фреза (со сменными ножами) | Ø 200 x 30 Z10, угол профиля 90°; 135°; 180° |
Длина раскроя, мм | 4000 |
Вылет пилы, мм | 25 |
Макс. ширина раскроя, мм | 2000 |
Давление в пневмосистеме, Бар | 6 |
Аспирация | встроенная |
Нижние упоры | металлические ролики |
Перемещение пильной головы | ручное |
Мощность двигателя, кВт | 3 |
Пневмозахваты | нет |
Рама для предотвращения пропила направляющих | передвигается автоматически |
Электронный дисплей указания размеров | нет |
Длина, мм | 5000 |
Ширина, мм | 2980 |
Высота, мм | 1150 |
Длина, мм | 5000 |
Ширина, мм | 2450 |
Высота, мм | 1400 |
Вес Bala Makina CPME 2B 20x40, кг | 665 |
Способы получения товара в г.
Форматно-раскроечный станок Bala Makina CPME 2B 20x40 с доставкой в г. подробные условия и стоимость
Мы используем файлы cookie для функционирования сайта. Продолжая навигацию по сайту, вы косвенно предоставляете свое согласие на использование cookie. Подробнее...
Отзывы к "Форматно-раскроечный станок Bala Makina CPME 2B 20x40":
Пока нет комментариев